Được sử dụng trong các ngành xây dựng, máy phun vữa giúp hoàn thành một khối lượng công việc lớn góp phần đẩy nhanh việc thi công công trình. Trên thị trường hiện nay có 2 kiểu máy bơm vữa chính: kiểu tay quay và dùng piston.
1. Công dụng của máy bơm vữa
- Vận chuyển vữa, bê tông theo một đường ống dẫn bằng thép hoặc cao su đến vị trí thi công.
- Khoảng cách vận chuyển đạt khoảng 500m vận chuyển xa và đạt 70m vận chuyển cao.
- Có thể lắp nối tiếp nhiều máy bơm để tăng khoảng cách và độ cao bơm vữa.
2. Máy bơm vữa kiểu tay quay - thanh truyền
1. Công dụng của máy bơm vữa
- Vận chuyển vữa, bê tông theo một đường ống dẫn bằng thép hoặc cao su đến vị trí thi công.
- Khoảng cách vận chuyển đạt khoảng 500m vận chuyển xa và đạt 70m vận chuyển cao.
- Có thể lắp nối tiếp nhiều máy bơm để tăng khoảng cách và độ cao bơm vữa.
2. Máy bơm vữa kiểu tay quay - thanh truyền


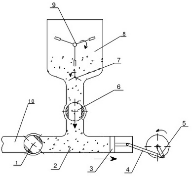
1- Van đẩy, 2- Xylanh, 3-Piston, 4-Thanh truyền, 5- Tay quay, 6-Van hút, 7-Thiết bị dẫn vật liệu, 8- Phễu chứa, 9- Cánh trộn, 10- Ống dẫn bê tông
Nguyên lý hoạt động
- Thông qua hệ thống dẫn động cơ cấu tay quay và thanh truyền sẽ kéo hoặc đẩy piston. Trong nửa hành trình đầu của tay quay, piston được kéo ra, van hút mỏ, van đẩy đóng. Vữa được hút từ thùng chứa nguyên liệu lên xylanh. Trong nửa hành trình sau của tay quay, piston bị đẩy vào, van hút đóng, van đẩy mở, vữa được đẩy ra ống dẫn.
- Van hút và can đẩy thuộc loại van xoay, 2 van này làm việc nhờ cơ cấu liên động để đảm bảo 2 van hoạt động ngược nhau.
- Xylanh gồm 2 lớp, lớp trong tiếp xúc với piston gọi là áo xylanh. Để chống mài mòn, áo xylanh được làm bằng hợp kim tốt.
- Giảm ma sát và tránh vữa xi măng ăn mòn áo xy lanh, trong khi piston làm việc luôn có nước tưới để làm sạch phần áp xylanh ở phía sau piston.
3. Bơm piston dẫn động bằng thủy lực

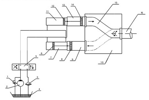
1- van an toàn, 2- Bơm dầu, 3-Bầu lọc dầu, 4- thùng dầu, 5-Van phân phối, 6+12 - piston thủy lực, 7+11 - xylanh thủy lực, 8+14 - piston công tác, 9+13 - xylanh công tác, 10- phễu chứa vữa, 15- Ống cong, 16-Ống dẫn vữa.
Nguyên lý làm việc
- Piston công tác được điều khiển bởi piston thủy lực và hoạt động ngược chiều nhau. Ống cong nằm trong khoang nạp có tâm quay trùng với tâm của đường ống. Trong quá trình vận hành, ống cong lắc 1 góc nhất định làm che kín đường ra của xylanh.
- Trong hành trình đẩy của piston (14) ống cong sẽ được nối vào xylanh công tác (13), kho đó vữa được đẩy từ xylanh vào ống cong rồi ra ống dẫn. Đồng thời piston(8) co lại, xylanh(9) thông với phễu chứa nên vữa sẽ được hút vào trong xylanh.
- Khi kết thúc hành trình, cả 2 xylanh công tác sẽ đổi chiều đồng thời ống cong được lắc từ xylanh(13) sang nối với xylanh(9) để tiếp tục nhận vữa từ xylanh này. Quá trình này lặp đi lặp lại tới khi máy dừng.





























































